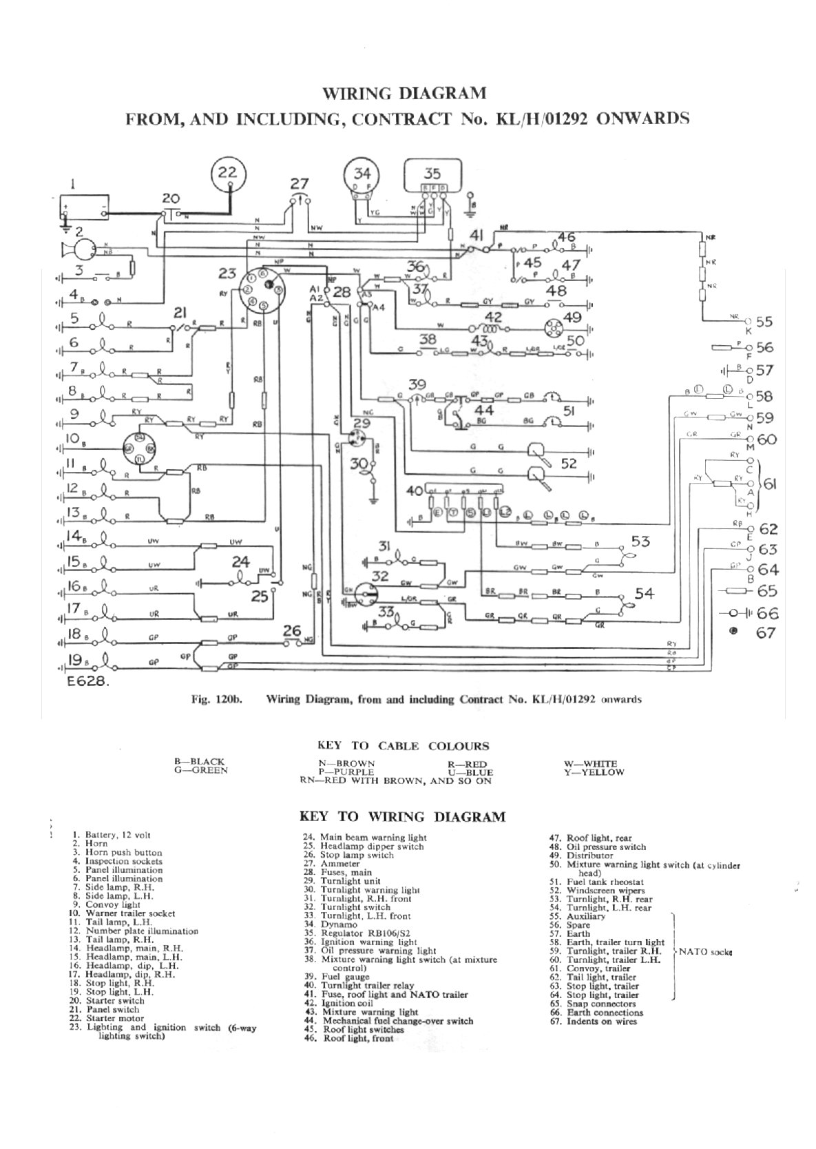
nzlro/Chris_Evans/Electrical/SII-a Diag2.jpg

Google
 
Web criggie.org.nz